バックホウ標準バケット サイドカッター
・各メーカーのバックホウ(ユンボ)の純正バケットの【サイドカッター】を格安にて、ご提供しております。
純正品と変わらない形状で、価格は純正部品の半額になります。
メーカー販売店や重機専門会社、大手整備工場様などからもご購入頂いており、
品質と価格には自信があります
インカッター
越後商事の新商品でサイドカッターの機能を持ちながらバケット幅で
掘削が可能になる特殊サイドカッターです。
管工事等の現場で重宝されてます。
適合機種
下記の表は参考一例です。
表に無い機種型式でも型式と機番を教えて頂ければ、社外品で製造している
モデルであればご紹介可能です。
注:メーカーの純正バケットのデーターを元にお探ししますので、他メーカーのバケットや特注バケット、中古でメーカーが分からないバケットの場合は購入して頂いても使用できない場合があります。
(取付穴の数と径、それぞれのピッチを教えて頂ければ、純正バケット以外でもお探しする事は可能です)
価 格
型式から検索
部品図より選択も可能です
コマツ
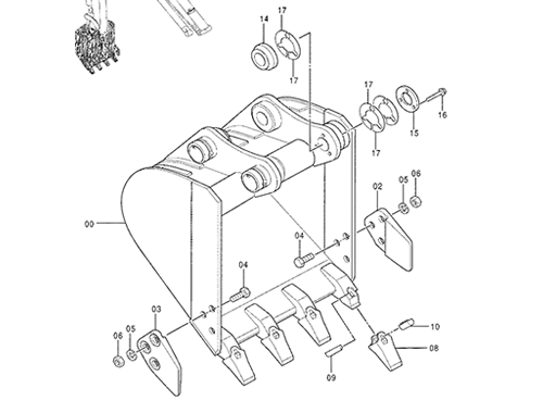
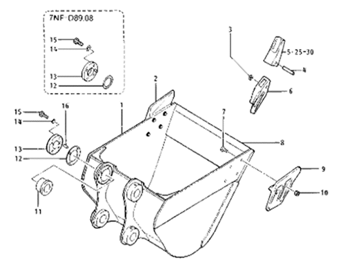
【コマツ】PC30MR-3(バケット幅320mm)部品図
| 純正品番号 品名 |
規格 | 数量 | 税込価格 |
20S-70-71330 サイドカッター |
3穴 左側 | 1枚 | 2,420 |
20S-70-71340 サイドカッター |
3穴 右側 | 1枚 | 2,420 |
103H 14X45 ボルト・ナット・SW |
各6個 | 1セット | 1,595 |
| 機種型式 | 機番 (シリアル番号) |
爪の本数 | バケット幅(mm) |
| ・PC10-7 | #27777~ | 3本爪 | 320又は420 |
| 4本爪 | 500又は600 | ||
| ・PC10N-7 | #1001~ | 3本爪 | 320又は420 |
| 4本爪 | 500又は600 | ||
| ・PC12UU-2 | #4601~ | 3本爪 | 320 |
| 420 | |||
| 4本爪 | 470 | ||
| #3001~4600 | 500 | ||
| #4601~ | 600 | ||
| ・PC15-3 | #6222 | 3本爪 | 320 |
| 420 | |||
| 4本爪 | 500 | ||
| 600 | |||
| ・PC20-7 | #35001~ | 2本爪 | 320 |
| 3本爪 | 420 | ||
| 500 | |||
| 4本爪 | 600 | ||
| ・PC27MR-3 | #20509~ | 3本爪 | 320 |
| 420 | |||
| 4本爪 | 500 | ||
| ・PC30MR-3 | #32725 | 3本爪 | 320 |
| 420 | |||
| 4本爪 | 500 | ||
| 600 | |||
| 700 |
【コマツ】PC20-6(バケット幅450mm)部品図
| 純正品番号 品名 |
規格 | 数量 | 税込価格 |
20U-70-13240 サイドカッター |
4穴 左側 | 1枚 | 2,860 |
20U-70-13250 サイドカッター |
4穴 右側 | 1枚 | 2,860 |
103H 16X45 ボルト・ナット・SW |
各8個 | 1セット | 2,200 |
| 機種型式 | 機番(シリアル番号) | 爪の本数 | バケット幅(mm) |
・PC20-6 |
#24001~ | 4本爪 | 450 |
・PC40-6 |
#10001~ | 4本爪 | 600 |
| ・PC50UU-1 | #1001~ | 4本爪 | 700 |
| 658 (強化バケット) |
【コマツ】PC40MR-2(バケット幅600mm)部品図
| 純正品番号 品名 |
規格 | 数量 | 税込価格 |
20U-70-13241 サイドカッター |
4穴 左側 | 1枚 | 4,290 |
20U-70-13251 サイドカッター |
4穴 右側 | 1枚 | 4,290 |
103H 16X50 ボルト・ナット・SW |
各8個 | 1セット | 2,904 |
| 機種型式 | 機番 (シリアル番号) |
爪の本数 | バケット幅(mm) |
・PC58UU-3 |
|||
| ・PC60-3 | #18001~ | 3本爪 | 350 (幅狭バケット) |
| 450 (幅狭バケット) |
|||
| 4本爪 | 650 | ||
| 755 (軽作業バケット) |
|||
| ・PC60-5 ・PC60-6 |
#20501~ #28001~ |
3本爪 | 350 |
| 450 | |||
| 4本爪 | 550 | ||
| 650 | |||
| 725 | |||
・PC75US-3 |
#16307~ | 3本爪 | 550 |
【コマツ】PC70-6(バケット幅650mm)部品図
| 純正品番号・品名 | 規格 | 数量 | 税込価格 |
20X-933-1120 サイドカッター |
3穴 左側 | 1枚 | 5,940 |
20U-70-13251 サイドカッター |
3穴 右側 | 1枚 | 5,940 |
103H 16X50 ボルト・ナット・SW |
各8個 | 1セット | 4,752 |
| 機 種 型 式 | ||
| ・PC60-3 ・PC60-5 ・PC60-6 |
・PC70-6 ・PC75UU-1 ・PC75UU-2 ・PC75UU-3 ・PC75UD-2 ・PC75UD-3 ・PC78UU-8 |
・PC78US-5 |
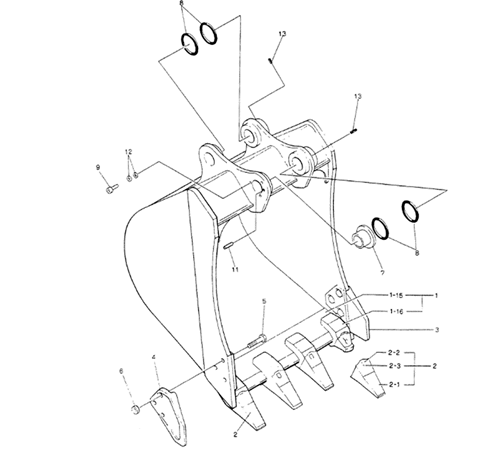
【コマツ】PC130-8(バケット幅857mm)部品図
| 純正品番号・品名 | 規格 | 数量 | 税込価格 |
202-70-63161 サイドカッター |
4穴 左側 | 1枚 | 8,690 |
202-70-63171 サイドカッター |
4穴 右側 | 1枚 | 8,690 |
103H 22X72 ボルトセット(ナット付) |
各8個 | 1セット | 5,280 |
| 機種型式 | 機番(シリアル番号) | 爪の本数 | バケット幅(mm) |
| ・PC100-5 | #28001~ | 3本爪 | 450 |
| 600 | |||
| 4本爪 | 700 | ||
| 850 | |||
| ・PC130-8 ・PC138US-8 ・PC138US-10 |
#80001~ #24510~ |
3本爪 | 499 |
| 599 | |||
| 4本爪 | 699 | ||
| 857 | |||
| ・PC138USLC-10 | #40001~ | 3本爪 | 499 |
| 599 | |||
| 4本爪 | 699 | ||
| 831 | |||
| 857 | |||
| PC200LC-8 | #350001~ | 3本爪 | 600 |
| 4本爪 | 830 |
【コマツ】PC228US-8(バケット幅1150mm)部品図
※鋳造はストレート、銅板は曲がりが付いています
耐久性は鋳造>銅板です。
敷鉄板をサイドカッターでひっかける方は
鋳造をオススメします。
| 純正品番号・品名 | 規格 | 数量 | 税込価格 |
| 205-70-74180 サイドカッター |
4穴 左側 鋳造 | 1枚 | 13,200 |
| 4穴 左側 鋼板 | 1枚 | 9,240 | |
| 205-70-74190 サイドカッター |
4穴 右側 鋳造 | 1枚 | 13,200 |
| 4穴 右側 鋼板 | 1枚 | 9,240 | |
103H 24X78 ボルトセット(ナット付) |
各8個 | 1セット | 6,864 |
※鋳造はストレート、銅板は曲がりが付いています
耐久性は鋳造>銅板です。
敷鉄板をサイドカッターでひっかける方は
鋳造をオススメします。
| 機種型式 | 機番(シリアル番号) | 爪の本数 | バケット幅(mm) |
| ・PC200-8 ・PC200LC-8 |
#35001~ | 3本爪 | 750 |
| 4本爪 | 970 | ||
| 5本爪 | 1150 (MEバケットも 同じカッターを使用) |
||
| 1200 (MEバケットも 同じカッターを使用) |
|||
| 6本爪 | 1330 | ||
| ・PC220-8 | #85001~ | 3本爪 | 900 |
| 4本爪 | 1250 | ||
・PC220LC-8 |
#70001~ | 4本爪 | 1200 |
| ・PC228US-8 | #50001~ | 3本爪 | 750 |
| 5本爪 | 1150 (MEバケットも 同じカッターを使用) |
||
| 1200 (MEバケットも 同じカッターを使用) |
|||
・PC270-8 ・PC270LC-8 |
#30117~ | 5本爪 | 1300 |
| ・HB205-1 | #1001~ | 5本爪 | 1150 |
| 1200 |
|||
| 1330 (MEバケットも 同じカッターを使用) |
|||
| ・HB215LC-1 | #1001~ | 5本爪 | 1150 (MEバケットも 同じカッターを使用) |
| 1200 (MEバケットも 同じカッターを使用) |
|||
| 1330 |
日立建機
【日立建機】ZX30U-3(バケット幅500mm)部品図
| 純正品番号・品名 | 規格 | 数量 | 税込価格 |
3056345/4626442 サイドカッター |
3穴 左側 | 1枚 | 2,112 |
3056344/4626441 サイドカッター |
3穴 右側 | 1枚 | 2,112 |
103H 14X40 ボルト・ナット・SW |
各8個 | 1セット | 1,980 |
| 機種型式 | 機番 (シリアル番号) |
爪の本数 | バケット幅(mm) |
| ・EX12-2 | 2本爪 | 250 | |
| 3本爪 | 350 | ||
| 410 | |||
| 450 | |||
| ・EX15-2 ・EX18-2 |
2本爪 | 250 | |
| 3本爪 | 350 | ||
| 410 | |||
| 450 | |||
| 4本爪 | 500 | ||
・EX17U |
3本爪 | 450 | |
| ・EX20U-3 ・ZX20U |
2本爪 | 250 | |
| 3本爪 | 300 | ||
| 350 | |||
| 400 | |||
| 450 | |||
| 500 | |||
| ・EX20UR |
2本爪 | 300 | |
| 3本爪 | 350 | ||
| 400 | |||
| ・EX20UR-3 ・ZX20UR |
2本爪 | 250 | |
| 3本爪 | 300 | ||
| 350 | |||
| 400 | |||
| ・ZX14-3 ・ZX16-3 ・ZX17U-2 ・ZX18-3 |
3本爪 | 300 | |
| 350 | |||
| 400 | |||
| 450 | |||
| 500 | |||
| ・ZX22U-2 | 3本爪 | 300 | |
| 350 | |||
| 400 | |||
| 450 | |||
| 500 | |||
| 4本爪 | 550 | ||
| ・ZX27-3 ・ZX40UR-2 ・ZX40UR-2DU ・ZX40UR-3 ・ZX40UR-3D |
3本爪 | 300 | |
| 350 | |||
| 400 | |||
| 450 | |||
| 4本爪 | 500 | ||
| 550 | |||
| 600 | |||
| ・ZX27U-2 ・ZX27U-3 ・ZX27U-3F ・ZX29U-3 ・ZX29U-3F ・ZX40UR-2D |
3本爪 | 350 | |
| 400 | |||
| 450 | |||
| 4本爪 | 500 | ||
| 550 | |||
| 600 | |||
| ・ZX30U-2 ・ZX30U-3 |
3本爪 | 350 | |
| 400 | |||
| 450 | |||
| 4本爪 | 500 | ||
| 550 | |||
| 600 | |||
| 650 | |||
| ・ZX30UR | 2本爪 | 250 | |
| 3本爪 | 350 | ||
| 450 | |||
| 4本爪 | 500 | ||
| ・ZX30UR-2 ・ZX30UR-2U ・ZX30UR-3 |
3本爪 | 300 | |
| 350 | |||
| 400 | |||
| 450 | |||
| 4本爪 | 500 | ||
・ZX35B |
4本爪 | 500 | |
| ・ZX35U-2 | 3本爪 | 350 | |
| 400 | |||
| 450 | |||
| 4本爪 | 500 | ||
| 550 | |||
| 600 | |||
| 650 | |||
| 700 | |||
・ZX35U-3 ・ZX35U-5A |
3本爪 | 300 | |
| 350 | |||
| 400 | |||
| 450 | |||
| 4本爪 | 500 | ||
| 550 | |||
| 600 | |||
| 650 | |||
| 700 | |||
| 750 | |||
| ・ZX40UR | 3本爪 | 300 | |
| 350 | |||
| 400 | |||
| 4本爪 | 450 | ||
| 500 | |||
| 550 |
【日立建機】EX40U(バケット幅700mm)部品図
| 純正品番号・品名 | 規格 | 数量 | 税込価格 |
3061851/4626430 サイドカッター |
3穴 左側 | 1枚 | 2,640 |
3061850/4622021 サイドカッター |
3穴 右側 | 1枚 | 2,640 |
103H 14X40 ボルト・ナット・SW |
各8個 | 1セット | 1,980 |
| 機種型式 | 機番(シリアル番号) | 爪の本数 | バケット幅(mm) |
| ・EX40 ・EX45 |
3本爪 | 450 | |
| 500 | |||
| 4本爪 | 650 | ||
| 700 | |||
| ・EX40-2 ・EX45-2 ・ZX40U ・ZX40U-2 ・ZX50U |
3本爪 | 450 | |
| 500 | |||
| 4本爪 | 600 | ||
| 650 | |||
| 700 | |||
| ・EX40U ・ZX40U-3 ・ZX40U-5A ・ZX48U-3 ・ZX48U-5A |
3本爪 | 450 | |
| 500 | |||
| 4本爪 | 550 | ||
| 600 | |||
| 650 | |||
| 700 | |||
| ・ZX50U-2 ・ZX50U-3 ・ZX50U-5A |
3本爪 | 450 | |
| 500 | |||
| 4本爪 | 550 | ||
| 600 | |||
| 650 | |||
| 700 | |||
| 5本爪 | 750 | ||
| 800 |
【日立建機】EX75UR-5部品図
| 純正品番号・品名 | 規格 | 数量 | 税込価格 |
3053596 サイドカッター |
3穴 左側 | 1枚 | 5,940 |
3053595 サイドカッター |
3穴 右側 | 1枚 | 5,940 |
103H 20X60 ボルト ・ナット・SW |
各6個 | 1セット | 4,356 |
| 機 種 型 式 | ||
| ・EX60 ・EX60-2 ・EX60-3 ・EX60-5 ・EX60-5LC ・EX60LCK-3 ・EX60WD-2 |
・EX70LCK-5 ・EX75UR ・EX75UR-3 ・EX75UR-5 ・EX75URLC-3 ・EX75US-5 ・EX80U |
・ZX70 ・ZX70-3 ・ZX75UR ・ZX75UR-3 |
【日立建機】EX100-5部品図
| 純正品番号・品名 | 規格 | 数量 | 税込価格 |
2015429 サイドカッター |
4穴 左側 | 1枚 | 10,560 |
2015428 サイドカッター |
4穴 右側 | 1枚 | 10,560 |
103H 20X60 ボルト |
各8個 | 1セット | 5,808 |
| 機 種 型 式 | ||
・EX100 ・EX100-2 ・EX100-3 ・EX100-5 ・EX100WD ・EX100WD-2 ・EX100WD-3 |
・EX120 ・EX120-2 ・EX120-3 ・EX120-3C ・EX120-5 ・EX135UR |
・ZX100 ・ZX120 |
【日立建機】EX200-5部品図
| 純正品番号・品名 | 規格 | 数量 | 税込価格 |
2014504 サイドカッター |
6穴 左側 | 1枚 | 11,880 |
2014503 サイドカッター |
6穴 右側 | 1枚 | 11,880 |
103H 22X65 ボルト ・ナット・SW |
各12個 | 1セット | 7,260 |
| 機 種 型 式 | ||
・EX200 ・EX200-2 ・EX200-3 ・EX200-5 ・UH07-5 |
・ZX200 ・ZX200-3 ・ZX200-5 ・ZX200-6 |
・ZX225US-5B ・ZX225USR-3 |
CAT
【CAT】308バケット部品図
| 純正品番号・品名 | 規格 | 数量 | セット価格 (税込) |
7Y0739 サイドカッター |
3穴 左側 | 1枚 | 6,600 |
7Y0738 サイドカッター |
3穴 右側 | 1枚 | 6,600 |
103H 20X60 ボルト ・ナット・SW |
各6個 | 1セット | 4,356 |
| 機 種 型 式 | ||
| ・E70B | ・307 ・308 |
・308BSR |
【CAT】E120Bバケット部品図
| 純正品番号・品名 | 規格 | 数量 | セット価格 (税込) |
7Y0203/1R7218 サイドカッター |
4穴 左側 | 1枚 | 8,360 |
7Y0204/1R7218 サイドカッター |
4穴 右側 | 1枚 | 8,360 |
| 取付ボルトセット | ボルト*8 ナット*8 Sワッシャ*8 |
1セット | 3,960 |
| 機 種 型 式 | ||
・E110B ・E120B |
・311C ・311D |
・312C ・312D |
【CAT】320Dバケット部品図
| 純正品番号 品名 |
規格 | 数量 | セット価格 (税込) |
096-4747 サイドカッター |
4穴 左側 | 1枚 | 11,880 |
096-4748 サイドカッター |
4穴 右側 | 1枚 | 11,880 |
103H 24X75 ボルト・ナット・SW |
各8個 | 1セット | 9,240 |
| 機 種 型 式 | ||
| ・E200B ・E120B ・315C ・315DL |
・320B ・320C ・320D ・320DDR ・320D2 ・320E ・320ERR |
・322B ・322C ・324D ・324E |
コベルコ
【コベルコ】SK024バケット部品図
| 純正品番号 品名 |
規格 | 数量 | 税込価格 |
PV69B00002P1 S04362-01200 サイドカッター |
3穴 左側 | 1枚 | 2,640 |
PV69B00002P2 S04362-01300 サイドカッター |
3穴 右側 | 1枚 | 2,640 |
103H 16X45 ボルト ・ナット・SW |
各6個 | 1セット | 1,980 |
| 機 種 型 式 | ||
| ・SK20 | ・SK024 ・SK025 ・SK025-2 |
・SK030 ・SK030-2 ・Sk035 ・SK035-2 ・SK30 ・SK30SR-2 ・SK30SR-5 ・SK35SR ・SK35SR-2 |
【コベルコ】SK60バケット部品図
| 純正品番号・品名 | 規格 | 数量 | 税込価格 |
2412N279D1 サイドカッター |
3穴 左側 | 1枚 | 5,170 |
2412N279D2 サイドカッター |
3穴 右側 | 1枚 | 5,170 |
103H 20X50 ボルト ・ナット・SW |
各6個 | 1セット | 3,960 |
| 機 種 型 式 | ||
| ・K903 ・K903B ・K903C |
・SK40SR ・SK45SR ・SK50-1 ・SK50UR-1 ・SK50UR-2 ・SK50SR-1 ・SK50SR-2 ・SK60 |
・SK70SR ・SK75UR ・SK95UR-1 |
【コベルコ】SK135SRバケット部品図
| 純正品番号・品名 | 規格 | 数量 | セット価格 (税込) |
2412N278D21 サイドカッター |
4穴 左側 | 1枚 | 8,580 |
2412N278D11 サイドカッター |
4穴 右側 | 1枚 | 8,580 |
103H 22X65 ボルト・ナット・SW |
各8枚 | 1セット | 5,280 |
| 機 種 型 式 | ||
| ・K904 ・K904E ・K905 |
・SK100 ・SK115SR ・SK120 ・SK125 |
・SK130 ・SK135SR |
【コベルコ】SK200-6バケット部品図
| 純正品番号 品名 |
規格 | 数量 | セット価格 (税込) |
2412N289D21 サイドカッター |
4穴 左側 | 1枚 | 11,880 |
2412N289D11 サイドカッター |
4穴 右側 | 1枚 | 11,880 |
103H 24X70 ボルト・ナット・SW |
各8個 | 1セット | 8,690 |
| 機 種 型 式 | ||
| ・K907 ・K907D |
・SK200 ・SK200-6 ・SK200-6ES ・SK220 ・SK235 |
・ZX225US-5B ・ZX225USR-3 |
住 友
SH200-7 SH250-7
| 純正品番号 品名 |
規格 | 数量 | セット価格 (税込) |
KAV1169 サイドカッター(鋳物) |
4穴 左側 | 1枚 | 11,880 |
| KSV1168 サイドカッター(鋳物) |
4穴 右側 | 1枚 | 11,880 |
103H 24X70 ボルト・ナット・SW |
各8個 | 1セット | 8,690 |
納期について
・お客様のお届け場所から一番近いバックヤードから商品を発送いたします。
受注後、通常1~3営業日中にお届けしております。
・最寄りの営業止めでのご対応も可能です。
※再配達になってしまった場合は、別途運賃が発生する場合がありますので注意下さい。
また、土日祝祭日に配送対応できない商品もあります。当店までご確認下さい。
送料について
・お買い上げ金額が15,000円(税込)未満の場合は、【送料1,100(税込)】を頂戴してます。
・お買い上げ金額が15,000円(税込)以上の場合は、【送料無料】となります。
※沖縄県や離島の場合は別途送料(離島分)が発生する場合があります。
お支払い方法について
1.銀行振込(前払い)
銀行振込について
2、クレジット決済(前払い)
クレジット決済方法
3、PAIDを使用した掛け売り(RAIDによる審査あり)
PAIDについての詳細はこちらから
※コンビニ払い・着払いには対応しておりません
ご注文・見積もり依頼はFAXまたはメールにてお願いいたします
建設機械のリース・レンタルはこちら